燃料电池发电系统仿真与并联控制策略研究
1
2012
... 燃料电池作为一种将存储在燃料中的化学能转化为电能的动力装置,避开了传统热机卡诺循环的制约且使用过程无污染物排放,发展前景良好.其中,质子交换膜燃料电池(proton exchange membrane fuel cell,PEMFC)具有能效高、污染低、功率密度高、启动迅速、工作寿命长、开发投入小等优势,成为现阶段最成熟且最具发展潜力的燃料电池[1-2].常规加氢式PEMFC结构简单、环保、效率高,但氢气的压缩、储存和运输面临的安全隐患与高昂成本成为制约氢燃料电池推广应用的主要障碍[3].对于固体电池,如锂电池的体积能量密度仅为180~240 W·h/L;对于气体燃料,如天然气的体积能量密度为100 W·h/L左右,高压H2(70 MPa)的体积能量密度为 2 800 W·h/L;而对于常压液体燃料,如类液体燃料的体积能量密度则高达10 000 W·h/L,甲醇的体积能量密度为4 300 W·h/L,汽油的体积能量密度为8 600 W·h/L.因此,采用醇类和烃类等液体燃料作为氢载体展开原位重整制氢,在运输经济性和安全性方面,尤其是体积能量密度方面,相比于固体与气体燃料有着天然的优势[4]. ...
燃料电池发电系统仿真与并联控制策略研究
1
2012
... 燃料电池作为一种将存储在燃料中的化学能转化为电能的动力装置,避开了传统热机卡诺循环的制约且使用过程无污染物排放,发展前景良好.其中,质子交换膜燃料电池(proton exchange membrane fuel cell,PEMFC)具有能效高、污染低、功率密度高、启动迅速、工作寿命长、开发投入小等优势,成为现阶段最成熟且最具发展潜力的燃料电池[1-2].常规加氢式PEMFC结构简单、环保、效率高,但氢气的压缩、储存和运输面临的安全隐患与高昂成本成为制约氢燃料电池推广应用的主要障碍[3].对于固体电池,如锂电池的体积能量密度仅为180~240 W·h/L;对于气体燃料,如天然气的体积能量密度为100 W·h/L左右,高压H2(70 MPa)的体积能量密度为 2 800 W·h/L;而对于常压液体燃料,如类液体燃料的体积能量密度则高达10 000 W·h/L,甲醇的体积能量密度为4 300 W·h/L,汽油的体积能量密度为8 600 W·h/L.因此,采用醇类和烃类等液体燃料作为氢载体展开原位重整制氢,在运输经济性和安全性方面,尤其是体积能量密度方面,相比于固体与气体燃料有着天然的优势[4]. ...
适合分布式冷热电联供系统的中小型发电装置
1
2020
... 燃料电池作为一种将存储在燃料中的化学能转化为电能的动力装置,避开了传统热机卡诺循环的制约且使用过程无污染物排放,发展前景良好.其中,质子交换膜燃料电池(proton exchange membrane fuel cell,PEMFC)具有能效高、污染低、功率密度高、启动迅速、工作寿命长、开发投入小等优势,成为现阶段最成熟且最具发展潜力的燃料电池[1-2].常规加氢式PEMFC结构简单、环保、效率高,但氢气的压缩、储存和运输面临的安全隐患与高昂成本成为制约氢燃料电池推广应用的主要障碍[3].对于固体电池,如锂电池的体积能量密度仅为180~240 W·h/L;对于气体燃料,如天然气的体积能量密度为100 W·h/L左右,高压H2(70 MPa)的体积能量密度为 2 800 W·h/L;而对于常压液体燃料,如类液体燃料的体积能量密度则高达10 000 W·h/L,甲醇的体积能量密度为4 300 W·h/L,汽油的体积能量密度为8 600 W·h/L.因此,采用醇类和烃类等液体燃料作为氢载体展开原位重整制氢,在运输经济性和安全性方面,尤其是体积能量密度方面,相比于固体与气体燃料有着天然的优势[4]. ...
适合分布式冷热电联供系统的中小型发电装置
1
2020
... 燃料电池作为一种将存储在燃料中的化学能转化为电能的动力装置,避开了传统热机卡诺循环的制约且使用过程无污染物排放,发展前景良好.其中,质子交换膜燃料电池(proton exchange membrane fuel cell,PEMFC)具有能效高、污染低、功率密度高、启动迅速、工作寿命长、开发投入小等优势,成为现阶段最成熟且最具发展潜力的燃料电池[1-2].常规加氢式PEMFC结构简单、环保、效率高,但氢气的压缩、储存和运输面临的安全隐患与高昂成本成为制约氢燃料电池推广应用的主要障碍[3].对于固体电池,如锂电池的体积能量密度仅为180~240 W·h/L;对于气体燃料,如天然气的体积能量密度为100 W·h/L左右,高压H2(70 MPa)的体积能量密度为 2 800 W·h/L;而对于常压液体燃料,如类液体燃料的体积能量密度则高达10 000 W·h/L,甲醇的体积能量密度为4 300 W·h/L,汽油的体积能量密度为8 600 W·h/L.因此,采用醇类和烃类等液体燃料作为氢载体展开原位重整制氢,在运输经济性和安全性方面,尤其是体积能量密度方面,相比于固体与气体燃料有着天然的优势[4]. ...
碳中和背景下氢能利用关键技术及发展现状
1
2021
... 燃料电池作为一种将存储在燃料中的化学能转化为电能的动力装置,避开了传统热机卡诺循环的制约且使用过程无污染物排放,发展前景良好.其中,质子交换膜燃料电池(proton exchange membrane fuel cell,PEMFC)具有能效高、污染低、功率密度高、启动迅速、工作寿命长、开发投入小等优势,成为现阶段最成熟且最具发展潜力的燃料电池[1-2].常规加氢式PEMFC结构简单、环保、效率高,但氢气的压缩、储存和运输面临的安全隐患与高昂成本成为制约氢燃料电池推广应用的主要障碍[3].对于固体电池,如锂电池的体积能量密度仅为180~240 W·h/L;对于气体燃料,如天然气的体积能量密度为100 W·h/L左右,高压H2(70 MPa)的体积能量密度为 2 800 W·h/L;而对于常压液体燃料,如类液体燃料的体积能量密度则高达10 000 W·h/L,甲醇的体积能量密度为4 300 W·h/L,汽油的体积能量密度为8 600 W·h/L.因此,采用醇类和烃类等液体燃料作为氢载体展开原位重整制氢,在运输经济性和安全性方面,尤其是体积能量密度方面,相比于固体与气体燃料有着天然的优势[4]. ...
碳中和背景下氢能利用关键技术及发展现状
1
2021
... 燃料电池作为一种将存储在燃料中的化学能转化为电能的动力装置,避开了传统热机卡诺循环的制约且使用过程无污染物排放,发展前景良好.其中,质子交换膜燃料电池(proton exchange membrane fuel cell,PEMFC)具有能效高、污染低、功率密度高、启动迅速、工作寿命长、开发投入小等优势,成为现阶段最成熟且最具发展潜力的燃料电池[1-2].常规加氢式PEMFC结构简单、环保、效率高,但氢气的压缩、储存和运输面临的安全隐患与高昂成本成为制约氢燃料电池推广应用的主要障碍[3].对于固体电池,如锂电池的体积能量密度仅为180~240 W·h/L;对于气体燃料,如天然气的体积能量密度为100 W·h/L左右,高压H2(70 MPa)的体积能量密度为 2 800 W·h/L;而对于常压液体燃料,如类液体燃料的体积能量密度则高达10 000 W·h/L,甲醇的体积能量密度为4 300 W·h/L,汽油的体积能量密度为8 600 W·h/L.因此,采用醇类和烃类等液体燃料作为氢载体展开原位重整制氢,在运输经济性和安全性方面,尤其是体积能量密度方面,相比于固体与气体燃料有着天然的优势[4]. ...
不忘初心,持之以恒推动水氢产业发展:走访广东合即得能源科技有限公司
1
2018
... 燃料电池作为一种将存储在燃料中的化学能转化为电能的动力装置,避开了传统热机卡诺循环的制约且使用过程无污染物排放,发展前景良好.其中,质子交换膜燃料电池(proton exchange membrane fuel cell,PEMFC)具有能效高、污染低、功率密度高、启动迅速、工作寿命长、开发投入小等优势,成为现阶段最成熟且最具发展潜力的燃料电池[1-2].常规加氢式PEMFC结构简单、环保、效率高,但氢气的压缩、储存和运输面临的安全隐患与高昂成本成为制约氢燃料电池推广应用的主要障碍[3].对于固体电池,如锂电池的体积能量密度仅为180~240 W·h/L;对于气体燃料,如天然气的体积能量密度为100 W·h/L左右,高压H2(70 MPa)的体积能量密度为 2 800 W·h/L;而对于常压液体燃料,如类液体燃料的体积能量密度则高达10 000 W·h/L,甲醇的体积能量密度为4 300 W·h/L,汽油的体积能量密度为8 600 W·h/L.因此,采用醇类和烃类等液体燃料作为氢载体展开原位重整制氢,在运输经济性和安全性方面,尤其是体积能量密度方面,相比于固体与气体燃料有着天然的优势[4]. ...
不忘初心,持之以恒推动水氢产业发展:走访广东合即得能源科技有限公司
1
2018
... 燃料电池作为一种将存储在燃料中的化学能转化为电能的动力装置,避开了传统热机卡诺循环的制约且使用过程无污染物排放,发展前景良好.其中,质子交换膜燃料电池(proton exchange membrane fuel cell,PEMFC)具有能效高、污染低、功率密度高、启动迅速、工作寿命长、开发投入小等优势,成为现阶段最成熟且最具发展潜力的燃料电池[1-2].常规加氢式PEMFC结构简单、环保、效率高,但氢气的压缩、储存和运输面临的安全隐患与高昂成本成为制约氢燃料电池推广应用的主要障碍[3].对于固体电池,如锂电池的体积能量密度仅为180~240 W·h/L;对于气体燃料,如天然气的体积能量密度为100 W·h/L左右,高压H2(70 MPa)的体积能量密度为 2 800 W·h/L;而对于常压液体燃料,如类液体燃料的体积能量密度则高达10 000 W·h/L,甲醇的体积能量密度为4 300 W·h/L,汽油的体积能量密度为8 600 W·h/L.因此,采用醇类和烃类等液体燃料作为氢载体展开原位重整制氢,在运输经济性和安全性方面,尤其是体积能量密度方面,相比于固体与气体燃料有着天然的优势[4]. ...
Hydrogen production capacity of membrane reformer for methane steam reforming near practical working conditions
2
2008
... 综上所述,在氢气制取与储输问题尚未得到有效解决前,利用液体燃料原位重整制氢结合燃料电池发电可作为一个合理且经济的过渡解决方案.甲醇来源广泛,价格低廉;强C—C键的缺乏使甲醇在较低温区(200~300 ℃,其他碳氢燃料重整温度约为750 ℃)即可进行重整反应且氢气产率高[5];甲醇的体积能量密度高(4 300 W·h/L);甲醇制氢反应具有硫含量低、H/C摩尔比高等优点[6].甲醇重整燃料电池(reformed methanol fuel cell,RMFC)是将甲醇重整制氢与氢燃料电池发电2个环节集成的一种氢燃料电池发电技术,工艺路线区别于直接甲醇燃料电池(direct methanol fuel cell,DMFC).本文主要就甲醇重整技术从甲醇重整制氢研究进展、甲醇重整制氢反应器研究进展以及甲醇重整燃料电池发电应用3个维度进行论述. ...
... 我国在甲醇重整制氢热电联产发电应用方面处于初步研究阶段,主要集中于理论研究和微型系统的设计开发.中国科学院张莜松等[38]开发了甲醇重整制氢-发电联产系统,该系统将压气机间冷与甲醇重整过程整合,相对节能率达到4.8%,1 MJ H2能耗降低1.05 MJ,远低于常规天然气重整制氢和煤气化制氢的能耗.中国科学院廖腾飞等[39]利用烧结机350 ℃中低温废热与甲醇重整结合研发的重整制氢与发电联产系统,其制氢成本远低于电解水制氢,可与天然气重整制氢相媲美.河北省煤基材料与化学品工程技术研究中心的孙朝等[40]研发的热电联产系统将自组装的标准状态下5 m3/h甲醇水蒸气重整制氢机与5 kW燃料电池串联,通过研究发现该系统可连续发电7 h以上.中国科学院刘启斌等[5,41-42]基于不同用能系统整合和能量综合利用思路,将太阳能甲醇重整制氢与发电有机整合,研发出一种太阳能甲醇重整制氢分布式发电联产系统,通过研究发现该系统具有优良的热力性能. ...
Catalysts for methanol steam reforming:a review
1
2010
... 综上所述,在氢气制取与储输问题尚未得到有效解决前,利用液体燃料原位重整制氢结合燃料电池发电可作为一个合理且经济的过渡解决方案.甲醇来源广泛,价格低廉;强C—C键的缺乏使甲醇在较低温区(200~300 ℃,其他碳氢燃料重整温度约为750 ℃)即可进行重整反应且氢气产率高[5];甲醇的体积能量密度高(4 300 W·h/L);甲醇制氢反应具有硫含量低、H/C摩尔比高等优点[6].甲醇重整燃料电池(reformed methanol fuel cell,RMFC)是将甲醇重整制氢与氢燃料电池发电2个环节集成的一种氢燃料电池发电技术,工艺路线区别于直接甲醇燃料电池(direct methanol fuel cell,DMFC).本文主要就甲醇重整技术从甲醇重整制氢研究进展、甲醇重整制氢反应器研究进展以及甲醇重整燃料电池发电应用3个维度进行论述. ...
Steady-state isotopic transient kinetic analysis of steam reforming of methanol over Cu-based catalysts
1
2009
... 甲醇重整制氢催化剂主要有两大类:铜(Cu)基催化剂和Ⅷ-Ⅹ族(如Pd、Pt、Ni、Co等)金属基催化剂.Cu基催化剂具有较高的活性和选择性,是SRM中最常用的催化剂[7].二元的Cu/ZnO和三元的Cu/ZnO/Al2O3是目前最成功的商品化Cu基催化剂,其中,CuZn(Cu/ZnO)系催化剂因其在SRM反应中的高活性而引起了广泛研究.研究普遍认为ZnO提升了活性组分Cu的分散性与还原性,同时促进了氢溢流效应[8],提高了甲醇转化率,其中还原后的Cu起着主要作用[9].甲醇重整过程中Cu基催化剂由于烧结、积碳和硫中毒而导致失活,其中烧结对催化剂性能影响最大. ...
Hydrogen production in methanol reforming on modified copper-zinc catalsts:a review
1
2017
... 甲醇重整制氢催化剂主要有两大类:铜(Cu)基催化剂和Ⅷ-Ⅹ族(如Pd、Pt、Ni、Co等)金属基催化剂.Cu基催化剂具有较高的活性和选择性,是SRM中最常用的催化剂[7].二元的Cu/ZnO和三元的Cu/ZnO/Al2O3是目前最成功的商品化Cu基催化剂,其中,CuZn(Cu/ZnO)系催化剂因其在SRM反应中的高活性而引起了广泛研究.研究普遍认为ZnO提升了活性组分Cu的分散性与还原性,同时促进了氢溢流效应[8],提高了甲醇转化率,其中还原后的Cu起着主要作用[9].甲醇重整过程中Cu基催化剂由于烧结、积碳和硫中毒而导致失活,其中烧结对催化剂性能影响最大. ...
Cu/Zn-based catalysts for H2 production via steam reforming of methanol
1
2011
... 甲醇重整制氢催化剂主要有两大类:铜(Cu)基催化剂和Ⅷ-Ⅹ族(如Pd、Pt、Ni、Co等)金属基催化剂.Cu基催化剂具有较高的活性和选择性,是SRM中最常用的催化剂[7].二元的Cu/ZnO和三元的Cu/ZnO/Al2O3是目前最成功的商品化Cu基催化剂,其中,CuZn(Cu/ZnO)系催化剂因其在SRM反应中的高活性而引起了广泛研究.研究普遍认为ZnO提升了活性组分Cu的分散性与还原性,同时促进了氢溢流效应[8],提高了甲醇转化率,其中还原后的Cu起着主要作用[9].甲醇重整过程中Cu基催化剂由于烧结、积碳和硫中毒而导致失活,其中烧结对催化剂性能影响最大. ...
Production of hydrogen from methanol over Cu/ZnO and Cu/ZnO/Al2O3 catalysts prepared by homogeneous precipitation:steam reforming and oxidative steam reforming
1
2007
... 提高Cu基催化剂活性的主流方法如下:1)提高Cu的比表面积、分散度和减小Cu的颗粒尺寸,如Shishido等[10]通过尿素水解均相沉淀法制备出具有较大Cu比表面积、高分散度的Cu/ZnO催化剂及Cu/ZnO/Al2O3催化剂;2)改变催化剂的微观结构,也会影响催化活性,如Wang等[11]提出用延伸磨削法制备Cu/ZnO催化剂,结果发现随着研磨时间的延长,催化剂的微观结构发生变化,Cu表面的结构无序度增加,Cu比表面积提高,从而增强了催化剂活性;3)在Cu/ZnO催化剂中添加结构稳定剂(如ZrO2、Al2O3、CeO2、Cr2O3)和稀土金属助剂(如Ce、Pr、La等),可以达到抑制烧结和积碳的目的,从而提高甲醇重整性能.CeO2因其优良特性常用作结构稳定剂,Liu等[12]研究发现,在相同反应条件下,Cu/CeO2催化体系比Cu/ZnO和Cu/Al2O3催化剂表现出更高活性,这归因于Cu在CeO2载体上分散度较高,以及Cu与CeO2载体之间的强相互作用.Ce、Pr和La等稀土金属因其碱性而被用于中和催化剂中的酸性位点,起到抑制烧结和积碳的作用[13].除了通过上述主流方法来提高催化剂活性外,科学家也一直在研究减少催化剂烧结及积碳的工艺.Valdés-Solís等[14]研究发现,不同的原料气体组成和空速下,积碳的形成和活性组分烧结程度不同,向原料混合物中加入氧气有助于抑制积碳的形成.Cao等[15]研究发现,当原料组分中缺少水时,易产生焦炭占据活性位,而通入一定量的水可以改变甲醇反应路径并提高其转化率,从而减少催化剂失活. ...
Production of hydrogen by steam reforming of methanol over Cu/ZnO catalysts prepared via a practical soft reactive grinding route based on dry oxalate-precursor synthesis
1
2007
... 提高Cu基催化剂活性的主流方法如下:1)提高Cu的比表面积、分散度和减小Cu的颗粒尺寸,如Shishido等[10]通过尿素水解均相沉淀法制备出具有较大Cu比表面积、高分散度的Cu/ZnO催化剂及Cu/ZnO/Al2O3催化剂;2)改变催化剂的微观结构,也会影响催化活性,如Wang等[11]提出用延伸磨削法制备Cu/ZnO催化剂,结果发现随着研磨时间的延长,催化剂的微观结构发生变化,Cu表面的结构无序度增加,Cu比表面积提高,从而增强了催化剂活性;3)在Cu/ZnO催化剂中添加结构稳定剂(如ZrO2、Al2O3、CeO2、Cr2O3)和稀土金属助剂(如Ce、Pr、La等),可以达到抑制烧结和积碳的目的,从而提高甲醇重整性能.CeO2因其优良特性常用作结构稳定剂,Liu等[12]研究发现,在相同反应条件下,Cu/CeO2催化体系比Cu/ZnO和Cu/Al2O3催化剂表现出更高活性,这归因于Cu在CeO2载体上分散度较高,以及Cu与CeO2载体之间的强相互作用.Ce、Pr和La等稀土金属因其碱性而被用于中和催化剂中的酸性位点,起到抑制烧结和积碳的作用[13].除了通过上述主流方法来提高催化剂活性外,科学家也一直在研究减少催化剂烧结及积碳的工艺.Valdés-Solís等[14]研究发现,不同的原料气体组成和空速下,积碳的形成和活性组分烧结程度不同,向原料混合物中加入氧气有助于抑制积碳的形成.Cao等[15]研究发现,当原料组分中缺少水时,易产生焦炭占据活性位,而通入一定量的水可以改变甲醇反应路径并提高其转化率,从而减少催化剂失活. ...
Steam reforming of methanol over Cu/CeO2 catalysts studied in comparison with Cu/ZnO and Cu/Zn(Al)O catalysts
1
2003
... 提高Cu基催化剂活性的主流方法如下:1)提高Cu的比表面积、分散度和减小Cu的颗粒尺寸,如Shishido等[10]通过尿素水解均相沉淀法制备出具有较大Cu比表面积、高分散度的Cu/ZnO催化剂及Cu/ZnO/Al2O3催化剂;2)改变催化剂的微观结构,也会影响催化活性,如Wang等[11]提出用延伸磨削法制备Cu/ZnO催化剂,结果发现随着研磨时间的延长,催化剂的微观结构发生变化,Cu表面的结构无序度增加,Cu比表面积提高,从而增强了催化剂活性;3)在Cu/ZnO催化剂中添加结构稳定剂(如ZrO2、Al2O3、CeO2、Cr2O3)和稀土金属助剂(如Ce、Pr、La等),可以达到抑制烧结和积碳的目的,从而提高甲醇重整性能.CeO2因其优良特性常用作结构稳定剂,Liu等[12]研究发现,在相同反应条件下,Cu/CeO2催化体系比Cu/ZnO和Cu/Al2O3催化剂表现出更高活性,这归因于Cu在CeO2载体上分散度较高,以及Cu与CeO2载体之间的强相互作用.Ce、Pr和La等稀土金属因其碱性而被用于中和催化剂中的酸性位点,起到抑制烧结和积碳的作用[13].除了通过上述主流方法来提高催化剂活性外,科学家也一直在研究减少催化剂烧结及积碳的工艺.Valdés-Solís等[14]研究发现,不同的原料气体组成和空速下,积碳的形成和活性组分烧结程度不同,向原料混合物中加入氧气有助于抑制积碳的形成.Cao等[15]研究发现,当原料组分中缺少水时,易产生焦炭占据活性位,而通入一定量的水可以改变甲醇反应路径并提高其转化率,从而减少催化剂失活. ...
Pr和Sm改性的镍基和铜基催化剂在甲醇水蒸气重整制氢中的研究
1
2017
... 提高Cu基催化剂活性的主流方法如下:1)提高Cu的比表面积、分散度和减小Cu的颗粒尺寸,如Shishido等[10]通过尿素水解均相沉淀法制备出具有较大Cu比表面积、高分散度的Cu/ZnO催化剂及Cu/ZnO/Al2O3催化剂;2)改变催化剂的微观结构,也会影响催化活性,如Wang等[11]提出用延伸磨削法制备Cu/ZnO催化剂,结果发现随着研磨时间的延长,催化剂的微观结构发生变化,Cu表面的结构无序度增加,Cu比表面积提高,从而增强了催化剂活性;3)在Cu/ZnO催化剂中添加结构稳定剂(如ZrO2、Al2O3、CeO2、Cr2O3)和稀土金属助剂(如Ce、Pr、La等),可以达到抑制烧结和积碳的目的,从而提高甲醇重整性能.CeO2因其优良特性常用作结构稳定剂,Liu等[12]研究发现,在相同反应条件下,Cu/CeO2催化体系比Cu/ZnO和Cu/Al2O3催化剂表现出更高活性,这归因于Cu在CeO2载体上分散度较高,以及Cu与CeO2载体之间的强相互作用.Ce、Pr和La等稀土金属因其碱性而被用于中和催化剂中的酸性位点,起到抑制烧结和积碳的作用[13].除了通过上述主流方法来提高催化剂活性外,科学家也一直在研究减少催化剂烧结及积碳的工艺.Valdés-Solís等[14]研究发现,不同的原料气体组成和空速下,积碳的形成和活性组分烧结程度不同,向原料混合物中加入氧气有助于抑制积碳的形成.Cao等[15]研究发现,当原料组分中缺少水时,易产生焦炭占据活性位,而通入一定量的水可以改变甲醇反应路径并提高其转化率,从而减少催化剂失活. ...
Pr和Sm改性的镍基和铜基催化剂在甲醇水蒸气重整制氢中的研究
1
2017
... 提高Cu基催化剂活性的主流方法如下:1)提高Cu的比表面积、分散度和减小Cu的颗粒尺寸,如Shishido等[10]通过尿素水解均相沉淀法制备出具有较大Cu比表面积、高分散度的Cu/ZnO催化剂及Cu/ZnO/Al2O3催化剂;2)改变催化剂的微观结构,也会影响催化活性,如Wang等[11]提出用延伸磨削法制备Cu/ZnO催化剂,结果发现随着研磨时间的延长,催化剂的微观结构发生变化,Cu表面的结构无序度增加,Cu比表面积提高,从而增强了催化剂活性;3)在Cu/ZnO催化剂中添加结构稳定剂(如ZrO2、Al2O3、CeO2、Cr2O3)和稀土金属助剂(如Ce、Pr、La等),可以达到抑制烧结和积碳的目的,从而提高甲醇重整性能.CeO2因其优良特性常用作结构稳定剂,Liu等[12]研究发现,在相同反应条件下,Cu/CeO2催化体系比Cu/ZnO和Cu/Al2O3催化剂表现出更高活性,这归因于Cu在CeO2载体上分散度较高,以及Cu与CeO2载体之间的强相互作用.Ce、Pr和La等稀土金属因其碱性而被用于中和催化剂中的酸性位点,起到抑制烧结和积碳的作用[13].除了通过上述主流方法来提高催化剂活性外,科学家也一直在研究减少催化剂烧结及积碳的工艺.Valdés-Solís等[14]研究发现,不同的原料气体组成和空速下,积碳的形成和活性组分烧结程度不同,向原料混合物中加入氧气有助于抑制积碳的形成.Cao等[15]研究发现,当原料组分中缺少水时,易产生焦炭占据活性位,而通入一定量的水可以改变甲醇反应路径并提高其转化率,从而减少催化剂失活. ...
Nanosized catalysts for the production of hydrogen by methanol steam reforming
1
2006
... 提高Cu基催化剂活性的主流方法如下:1)提高Cu的比表面积、分散度和减小Cu的颗粒尺寸,如Shishido等[10]通过尿素水解均相沉淀法制备出具有较大Cu比表面积、高分散度的Cu/ZnO催化剂及Cu/ZnO/Al2O3催化剂;2)改变催化剂的微观结构,也会影响催化活性,如Wang等[11]提出用延伸磨削法制备Cu/ZnO催化剂,结果发现随着研磨时间的延长,催化剂的微观结构发生变化,Cu表面的结构无序度增加,Cu比表面积提高,从而增强了催化剂活性;3)在Cu/ZnO催化剂中添加结构稳定剂(如ZrO2、Al2O3、CeO2、Cr2O3)和稀土金属助剂(如Ce、Pr、La等),可以达到抑制烧结和积碳的目的,从而提高甲醇重整性能.CeO2因其优良特性常用作结构稳定剂,Liu等[12]研究发现,在相同反应条件下,Cu/CeO2催化体系比Cu/ZnO和Cu/Al2O3催化剂表现出更高活性,这归因于Cu在CeO2载体上分散度较高,以及Cu与CeO2载体之间的强相互作用.Ce、Pr和La等稀土金属因其碱性而被用于中和催化剂中的酸性位点,起到抑制烧结和积碳的作用[13].除了通过上述主流方法来提高催化剂活性外,科学家也一直在研究减少催化剂烧结及积碳的工艺.Valdés-Solís等[14]研究发现,不同的原料气体组成和空速下,积碳的形成和活性组分烧结程度不同,向原料混合物中加入氧气有助于抑制积碳的形成.Cao等[15]研究发现,当原料组分中缺少水时,易产生焦炭占据活性位,而通入一定量的水可以改变甲醇反应路径并提高其转化率,从而减少催化剂失活. ...
Methanol-steam reforming over a ZnO-Cr2O3/CeO2-ZrO2/Al2O3 catalyst
1
2006
... 提高Cu基催化剂活性的主流方法如下:1)提高Cu的比表面积、分散度和减小Cu的颗粒尺寸,如Shishido等[10]通过尿素水解均相沉淀法制备出具有较大Cu比表面积、高分散度的Cu/ZnO催化剂及Cu/ZnO/Al2O3催化剂;2)改变催化剂的微观结构,也会影响催化活性,如Wang等[11]提出用延伸磨削法制备Cu/ZnO催化剂,结果发现随着研磨时间的延长,催化剂的微观结构发生变化,Cu表面的结构无序度增加,Cu比表面积提高,从而增强了催化剂活性;3)在Cu/ZnO催化剂中添加结构稳定剂(如ZrO2、Al2O3、CeO2、Cr2O3)和稀土金属助剂(如Ce、Pr、La等),可以达到抑制烧结和积碳的目的,从而提高甲醇重整性能.CeO2因其优良特性常用作结构稳定剂,Liu等[12]研究发现,在相同反应条件下,Cu/CeO2催化体系比Cu/ZnO和Cu/Al2O3催化剂表现出更高活性,这归因于Cu在CeO2载体上分散度较高,以及Cu与CeO2载体之间的强相互作用.Ce、Pr和La等稀土金属因其碱性而被用于中和催化剂中的酸性位点,起到抑制烧结和积碳的作用[13].除了通过上述主流方法来提高催化剂活性外,科学家也一直在研究减少催化剂烧结及积碳的工艺.Valdés-Solís等[14]研究发现,不同的原料气体组成和空速下,积碳的形成和活性组分烧结程度不同,向原料混合物中加入氧气有助于抑制积碳的形成.Cao等[15]研究发现,当原料组分中缺少水时,易产生焦炭占据活性位,而通入一定量的水可以改变甲醇反应路径并提高其转化率,从而减少催化剂失活. ...
Highly selective supported Pd catalysts for steam reforming of methanol
1
1993
... 金属催化剂即Ⅷ-Ⅹ(8,9,10)族金属作为主要活性成分的催化剂,与Cu基催化剂相比,具有较高的稳定性和相似的选择性,但其催化活性和氢气产量方面呈现不足.Iwasa等[16-17]首次研究了Pd负载于不同的载体(包括Al2O3、La2O3、Nb2O5、ZnO等)所形成的催化剂对SRM反应的催化性能,其中Pd/ZnO催化剂性能最优,这是因为Pd/ZnO催化剂还原形成的Pd-Zn合金对SRM选择性和催化活性都有积极的影响.Iwasa等[18]进一步探究了不同活性组分(如Pd、Co、Ni、Pt、Ru)负载于ZnO载体上形成催化剂的反应性能,结果表明Pd/ZnO催化剂反应性能最优.此外,研究者对Pd/ZnO的制备方法和预处理条件进行了深入研究[19],主要探究了Pd/ZnO的制备方法[20]、ZnO比表面积[21]、预处理还原温度,以及PdZn微晶粒度对Pd/ZnO催化剂性能的影响[22-23]. ...
New supported Pd and Pt alloy catalysts for steam reforming and dehydrogenation of methanol
1
2003
... 金属催化剂即Ⅷ-Ⅹ(8,9,10)族金属作为主要活性成分的催化剂,与Cu基催化剂相比,具有较高的稳定性和相似的选择性,但其催化活性和氢气产量方面呈现不足.Iwasa等[16-17]首次研究了Pd负载于不同的载体(包括Al2O3、La2O3、Nb2O5、ZnO等)所形成的催化剂对SRM反应的催化性能,其中Pd/ZnO催化剂性能最优,这是因为Pd/ZnO催化剂还原形成的Pd-Zn合金对SRM选择性和催化活性都有积极的影响.Iwasa等[18]进一步探究了不同活性组分(如Pd、Co、Ni、Pt、Ru)负载于ZnO载体上形成催化剂的反应性能,结果表明Pd/ZnO催化剂反应性能最优.此外,研究者对Pd/ZnO的制备方法和预处理条件进行了深入研究[19],主要探究了Pd/ZnO的制备方法[20]、ZnO比表面积[21]、预处理还原温度,以及PdZn微晶粒度对Pd/ZnO催化剂性能的影响[22-23]. ...
Steam reforming of methanol over Ni, Co, Pd and Pt supported on ZnO
1
1995
... 金属催化剂即Ⅷ-Ⅹ(8,9,10)族金属作为主要活性成分的催化剂,与Cu基催化剂相比,具有较高的稳定性和相似的选择性,但其催化活性和氢气产量方面呈现不足.Iwasa等[16-17]首次研究了Pd负载于不同的载体(包括Al2O3、La2O3、Nb2O5、ZnO等)所形成的催化剂对SRM反应的催化性能,其中Pd/ZnO催化剂性能最优,这是因为Pd/ZnO催化剂还原形成的Pd-Zn合金对SRM选择性和催化活性都有积极的影响.Iwasa等[18]进一步探究了不同活性组分(如Pd、Co、Ni、Pt、Ru)负载于ZnO载体上形成催化剂的反应性能,结果表明Pd/ZnO催化剂反应性能最优.此外,研究者对Pd/ZnO的制备方法和预处理条件进行了深入研究[19],主要探究了Pd/ZnO的制备方法[20]、ZnO比表面积[21]、预处理还原温度,以及PdZn微晶粒度对Pd/ZnO催化剂性能的影响[22-23]. ...
Reduction of Pd/ZnO catalyst and its catalytic activity for steam reforming of methanol
1
2007
... 金属催化剂即Ⅷ-Ⅹ(8,9,10)族金属作为主要活性成分的催化剂,与Cu基催化剂相比,具有较高的稳定性和相似的选择性,但其催化活性和氢气产量方面呈现不足.Iwasa等[16-17]首次研究了Pd负载于不同的载体(包括Al2O3、La2O3、Nb2O5、ZnO等)所形成的催化剂对SRM反应的催化性能,其中Pd/ZnO催化剂性能最优,这是因为Pd/ZnO催化剂还原形成的Pd-Zn合金对SRM选择性和催化活性都有积极的影响.Iwasa等[18]进一步探究了不同活性组分(如Pd、Co、Ni、Pt、Ru)负载于ZnO载体上形成催化剂的反应性能,结果表明Pd/ZnO催化剂反应性能最优.此外,研究者对Pd/ZnO的制备方法和预处理条件进行了深入研究[19],主要探究了Pd/ZnO的制备方法[20]、ZnO比表面积[21]、预处理还原温度,以及PdZn微晶粒度对Pd/ZnO催化剂性能的影响[22-23]. ...
Controlling ZnO morphology for improved methanol steam reforming reactivity
1
2008
... 金属催化剂即Ⅷ-Ⅹ(8,9,10)族金属作为主要活性成分的催化剂,与Cu基催化剂相比,具有较高的稳定性和相似的选择性,但其催化活性和氢气产量方面呈现不足.Iwasa等[16-17]首次研究了Pd负载于不同的载体(包括Al2O3、La2O3、Nb2O5、ZnO等)所形成的催化剂对SRM反应的催化性能,其中Pd/ZnO催化剂性能最优,这是因为Pd/ZnO催化剂还原形成的Pd-Zn合金对SRM选择性和催化活性都有积极的影响.Iwasa等[18]进一步探究了不同活性组分(如Pd、Co、Ni、Pt、Ru)负载于ZnO载体上形成催化剂的反应性能,结果表明Pd/ZnO催化剂反应性能最优.此外,研究者对Pd/ZnO的制备方法和预处理条件进行了深入研究[19],主要探究了Pd/ZnO的制备方法[20]、ZnO比表面积[21]、预处理还原温度,以及PdZn微晶粒度对Pd/ZnO催化剂性能的影响[22-23]. ...
Synthesis of mesoporous ZnO (m-ZnO) and catalytic performance of the Pd/m-ZnO catalyst for methanol steam reforming
1
2009
... 金属催化剂即Ⅷ-Ⅹ(8,9,10)族金属作为主要活性成分的催化剂,与Cu基催化剂相比,具有较高的稳定性和相似的选择性,但其催化活性和氢气产量方面呈现不足.Iwasa等[16-17]首次研究了Pd负载于不同的载体(包括Al2O3、La2O3、Nb2O5、ZnO等)所形成的催化剂对SRM反应的催化性能,其中Pd/ZnO催化剂性能最优,这是因为Pd/ZnO催化剂还原形成的Pd-Zn合金对SRM选择性和催化活性都有积极的影响.Iwasa等[18]进一步探究了不同活性组分(如Pd、Co、Ni、Pt、Ru)负载于ZnO载体上形成催化剂的反应性能,结果表明Pd/ZnO催化剂反应性能最优.此外,研究者对Pd/ZnO的制备方法和预处理条件进行了深入研究[19],主要探究了Pd/ZnO的制备方法[20]、ZnO比表面积[21]、预处理还原温度,以及PdZn微晶粒度对Pd/ZnO催化剂性能的影响[22-23]. ...
The effects of PdZn crystallite size on methanol steam reforming
1
2007
... 金属催化剂即Ⅷ-Ⅹ(8,9,10)族金属作为主要活性成分的催化剂,与Cu基催化剂相比,具有较高的稳定性和相似的选择性,但其催化活性和氢气产量方面呈现不足.Iwasa等[16-17]首次研究了Pd负载于不同的载体(包括Al2O3、La2O3、Nb2O5、ZnO等)所形成的催化剂对SRM反应的催化性能,其中Pd/ZnO催化剂性能最优,这是因为Pd/ZnO催化剂还原形成的Pd-Zn合金对SRM选择性和催化活性都有积极的影响.Iwasa等[18]进一步探究了不同活性组分(如Pd、Co、Ni、Pt、Ru)负载于ZnO载体上形成催化剂的反应性能,结果表明Pd/ZnO催化剂反应性能最优.此外,研究者对Pd/ZnO的制备方法和预处理条件进行了深入研究[19],主要探究了Pd/ZnO的制备方法[20]、ZnO比表面积[21]、预处理还原温度,以及PdZn微晶粒度对Pd/ZnO催化剂性能的影响[22-23]. ...
Stability of bimetallic Pd-Zn catalysts for the steam reforming of methanol
1
2008
... 金属催化剂即Ⅷ-Ⅹ(8,9,10)族金属作为主要活性成分的催化剂,与Cu基催化剂相比,具有较高的稳定性和相似的选择性,但其催化活性和氢气产量方面呈现不足.Iwasa等[16-17]首次研究了Pd负载于不同的载体(包括Al2O3、La2O3、Nb2O5、ZnO等)所形成的催化剂对SRM反应的催化性能,其中Pd/ZnO催化剂性能最优,这是因为Pd/ZnO催化剂还原形成的Pd-Zn合金对SRM选择性和催化活性都有积极的影响.Iwasa等[18]进一步探究了不同活性组分(如Pd、Co、Ni、Pt、Ru)负载于ZnO载体上形成催化剂的反应性能,结果表明Pd/ZnO催化剂反应性能最优.此外,研究者对Pd/ZnO的制备方法和预处理条件进行了深入研究[19],主要探究了Pd/ZnO的制备方法[20]、ZnO比表面积[21]、预处理还原温度,以及PdZn微晶粒度对Pd/ZnO催化剂性能的影响[22-23]. ...
一氧化碳高效吸附剂CuCl/分子筛
1
1997
... 1)采用专用CO定向除杂吸附剂,北京大学谢有畅等[24]利用自发单层分散原理设计了CuCl/NaY分子筛CO高效吸附剂(PU-1),已成功实现工业化,可以将氢气中CO杂质脱除至0.1 mL/L以下. ...
一氧化碳高效吸附剂CuCl/分子筛
1
1997
... 1)采用专用CO定向除杂吸附剂,北京大学谢有畅等[24]利用自发单层分散原理设计了CuCl/NaY分子筛CO高效吸附剂(PU-1),已成功实现工业化,可以将氢气中CO杂质脱除至0.1 mL/L以下. ...
微型甲醇水蒸气重整器结构设计研究
1
2017
... 管式反应器采用管状结构设计,其优点是结构简单、加工方便、操作简便、成本低,催化剂不易磨损且便于更换.其缺点是传热性能较差、体积较大、压降较高,反应器内温度分布不均,产氢效率不理想[25].Prashant等[26]开发了一种新型自热型管式甲醇重整制氢填充床反应器,结构如图1所示.该反应器外部套筒内填充CuO/ZnO/Al2O3作为SRM催化剂,中心内部填充甲醇催化燃烧催化剂,为SRM提供所需热量.240 ℃时达到了298 mL/min的重整气产率,其中包含体积分数为70%的H2、27%的CO2和3%的CO,在假设PEMFC效率为60%和氢气利用率为80%的条件下,可以输出25~32 W电力. ...
微型甲醇水蒸气重整器结构设计研究
1
2017
... 管式反应器采用管状结构设计,其优点是结构简单、加工方便、操作简便、成本低,催化剂不易磨损且便于更换.其缺点是传热性能较差、体积较大、压降较高,反应器内温度分布不均,产氢效率不理想[25].Prashant等[26]开发了一种新型自热型管式甲醇重整制氢填充床反应器,结构如图1所示.该反应器外部套筒内填充CuO/ZnO/Al2O3作为SRM催化剂,中心内部填充甲醇催化燃烧催化剂,为SRM提供所需热量.240 ℃时达到了298 mL/min的重整气产率,其中包含体积分数为70%的H2、27%的CO2和3%的CO,在假设PEMFC效率为60%和氢气利用率为80%的条件下,可以输出25~32 W电力. ...
Investigations on a new internally-heated tubular packed-bed methanol-steam reformer
1
2015
... 管式反应器采用管状结构设计,其优点是结构简单、加工方便、操作简便、成本低,催化剂不易磨损且便于更换.其缺点是传热性能较差、体积较大、压降较高,反应器内温度分布不均,产氢效率不理想[25].Prashant等[26]开发了一种新型自热型管式甲醇重整制氢填充床反应器,结构如图1所示.该反应器外部套筒内填充CuO/ZnO/Al2O3作为SRM催化剂,中心内部填充甲醇催化燃烧催化剂,为SRM提供所需热量.240 ℃时达到了298 mL/min的重整气产率,其中包含体积分数为70%的H2、27%的CO2和3%的CO,在假设PEMFC效率为60%和氢气利用率为80%的条件下,可以输出25~32 W电力. ...
Methanol steam reforming in a compact plate-fin reformer for fuel-cell systems
2
2005
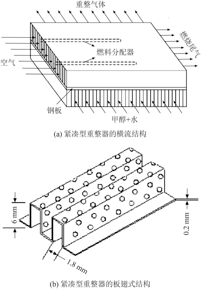
... 板式反应器通常是在反应器金属薄板两侧分别涂覆甲醇催化燃烧催化剂与甲醇水蒸气重整催化剂,通过间接传热实现强吸热反应与强放热反应之间热耦合.板式反应器的优点是传热性能好、结构紧凑,缺点是催化剂涂层稳定性较差.大连化学物理研究所潘立卫等[27]研发了5 kW板翅式SRM制氢反应器,结构如图2所示.在1 000 h的测试中,反应器的甲醇转化率维持在94%以上,重整气中氢气质量分数保持在74%左右. ...
... [
27]
Fig. 2
3) 膜反应器膜反应器的原理是利用钯膜对氢气的选择通过性实现氢气提纯[28].膜反应器的优点是氢气纯度高(达99%以上),可直接供PEMFC燃料电池使用,反应物的转化率较高;其缺点是系统复杂度高、稳定性较差、系统集成较难、成本高[29].Lytkina等[30]将Ru0.5-Rh0.5涂覆于多种碳基材料,如类石墨材料Sibunit、爆轰纳米金刚石(DND)等,在钯膜反应器(如图3所示)进行了甲醇重整制氢实验,结果表明:复合材料的催化活性取决于载体的性质,Ru-Rh/DND催化剂表现出最高活性;此外,钯银合金膜反应器的SRM氢气产率相对于纯钯膜提升了50%. ...
Progress in methanol steam reforming modelling via membrane reactors technology
1
2018
... 膜反应器的原理是利用钯膜对氢气的选择通过性实现氢气提纯[28].膜反应器的优点是氢气纯度高(达99%以上),可直接供PEMFC燃料电池使用,反应物的转化率较高;其缺点是系统复杂度高、稳定性较差、系统集成较难、成本高[29].Lytkina等[30]将Ru0.5-Rh0.5涂覆于多种碳基材料,如类石墨材料Sibunit、爆轰纳米金刚石(DND)等,在钯膜反应器(如图3所示)进行了甲醇重整制氢实验,结果表明:复合材料的催化活性取决于载体的性质,Ru-Rh/DND催化剂表现出最高活性;此外,钯银合金膜反应器的SRM氢气产率相对于纯钯膜提升了50%. ...
PdY净化器的氢氦分离性能
1
2016
... 膜反应器的原理是利用钯膜对氢气的选择通过性实现氢气提纯[28].膜反应器的优点是氢气纯度高(达99%以上),可直接供PEMFC燃料电池使用,反应物的转化率较高;其缺点是系统复杂度高、稳定性较差、系统集成较难、成本高[29].Lytkina等[30]将Ru0.5-Rh0.5涂覆于多种碳基材料,如类石墨材料Sibunit、爆轰纳米金刚石(DND)等,在钯膜反应器(如图3所示)进行了甲醇重整制氢实验,结果表明:复合材料的催化活性取决于载体的性质,Ru-Rh/DND催化剂表现出最高活性;此外,钯银合金膜反应器的SRM氢气产率相对于纯钯膜提升了50%. ...
PdY净化器的氢氦分离性能
1
2016
... 膜反应器的原理是利用钯膜对氢气的选择通过性实现氢气提纯[28].膜反应器的优点是氢气纯度高(达99%以上),可直接供PEMFC燃料电池使用,反应物的转化率较高;其缺点是系统复杂度高、稳定性较差、系统集成较难、成本高[29].Lytkina等[30]将Ru0.5-Rh0.5涂覆于多种碳基材料,如类石墨材料Sibunit、爆轰纳米金刚石(DND)等,在钯膜反应器(如图3所示)进行了甲醇重整制氢实验,结果表明:复合材料的催化活性取决于载体的性质,Ru-Rh/DND催化剂表现出最高活性;此外,钯银合金膜反应器的SRM氢气产率相对于纯钯膜提升了50%. ...
Ru-Rh based catalysts for hydrogen production via methanol steam reforming in conventional and membrane reactors
1
2019
... 膜反应器的原理是利用钯膜对氢气的选择通过性实现氢气提纯[28].膜反应器的优点是氢气纯度高(达99%以上),可直接供PEMFC燃料电池使用,反应物的转化率较高;其缺点是系统复杂度高、稳定性较差、系统集成较难、成本高[29].Lytkina等[30]将Ru0.5-Rh0.5涂覆于多种碳基材料,如类石墨材料Sibunit、爆轰纳米金刚石(DND)等,在钯膜反应器(如图3所示)进行了甲醇重整制氢实验,结果表明:复合材料的催化活性取决于载体的性质,Ru-Rh/DND催化剂表现出最高活性;此外,钯银合金膜反应器的SRM氢气产率相对于纯钯膜提升了50%. ...
Transport phenomena and performance of a plate methanol steam micro-reformer with serpentine flow field design
2
2010
... 随着微加工技术的发展,微反应器得到了更多关注.与管式、板式等传统反应器相比,微反应器具有更高比表面积及更好的传质传热性能,有利于提高制氢性能.研究者开发设计了不同类型的微反应器流道,如图4所示,包含蛇形流道[31]、平行流道[31]、径向流道[32]、微凸台阵列流道[33]、A型流道、分形流道[34]等多种形式.其中微凸台阵列式反应器在甲醇重整制氢创新应用方面潜力巨大.梅德庆等[33]制造了一种新型微凸台阵列微反应器,以提高重整制氢微反应器的紧凑性,如图4(d)所示,相比于传统的微反应器,其具有更高的甲醇转化率.Cheng[34]等发明了一种分形流道,如图4(f)所示,相比于平行流道微通道结构,该结构能改善微通道流速分布的均匀性,重整性能更高.不同微通道重整器流道和分布方式均会影响甲醇重整反应的传质传热和流体分布性能等,从而导致甲醇重整反应器整体性能不同. ...
... [31]、径向流道[32]、微凸台阵列流道[33]、A型流道、分形流道[34]等多种形式.其中微凸台阵列式反应器在甲醇重整制氢创新应用方面潜力巨大.梅德庆等[33]制造了一种新型微凸台阵列微反应器,以提高重整制氢微反应器的紧凑性,如图4(d)所示,相比于传统的微反应器,其具有更高的甲醇转化率.Cheng[34]等发明了一种分形流道,如图4(f)所示,相比于平行流道微通道结构,该结构能改善微通道流速分布的均匀性,重整性能更高.不同微通道重整器流道和分布方式均会影响甲醇重整反应的传质传热和流体分布性能等,从而导致甲醇重整反应器整体性能不同. ...
Computational fluid dynamics (CFD) analysis of micro-reactor performance:effect of various configurations
1
2012
... 随着微加工技术的发展,微反应器得到了更多关注.与管式、板式等传统反应器相比,微反应器具有更高比表面积及更好的传质传热性能,有利于提高制氢性能.研究者开发设计了不同类型的微反应器流道,如图4所示,包含蛇形流道[31]、平行流道[31]、径向流道[32]、微凸台阵列流道[33]、A型流道、分形流道[34]等多种形式.其中微凸台阵列式反应器在甲醇重整制氢创新应用方面潜力巨大.梅德庆等[33]制造了一种新型微凸台阵列微反应器,以提高重整制氢微反应器的紧凑性,如图4(d)所示,相比于传统的微反应器,其具有更高的甲醇转化率.Cheng[34]等发明了一种分形流道,如图4(f)所示,相比于平行流道微通道结构,该结构能改善微通道流速分布的均匀性,重整性能更高.不同微通道重整器流道和分布方式均会影响甲醇重整反应的传质传热和流体分布性能等,从而导致甲醇重整反应器整体性能不同. ...
A micro-reactor with micro-pin-fin arrays for hydrogen production via methanol steam reforming
2
2012
... 随着微加工技术的发展,微反应器得到了更多关注.与管式、板式等传统反应器相比,微反应器具有更高比表面积及更好的传质传热性能,有利于提高制氢性能.研究者开发设计了不同类型的微反应器流道,如图4所示,包含蛇形流道[31]、平行流道[31]、径向流道[32]、微凸台阵列流道[33]、A型流道、分形流道[34]等多种形式.其中微凸台阵列式反应器在甲醇重整制氢创新应用方面潜力巨大.梅德庆等[33]制造了一种新型微凸台阵列微反应器,以提高重整制氢微反应器的紧凑性,如图4(d)所示,相比于传统的微反应器,其具有更高的甲醇转化率.Cheng[34]等发明了一种分形流道,如图4(f)所示,相比于平行流道微通道结构,该结构能改善微通道流速分布的均匀性,重整性能更高.不同微通道重整器流道和分布方式均会影响甲醇重整反应的传质传热和流体分布性能等,从而导致甲醇重整反应器整体性能不同. ...
... [33]制造了一种新型微凸台阵列微反应器,以提高重整制氢微反应器的紧凑性,如图4(d)所示,相比于传统的微反应器,其具有更高的甲醇转化率.Cheng[34]等发明了一种分形流道,如图4(f)所示,相比于平行流道微通道结构,该结构能改善微通道流速分布的均匀性,重整性能更高.不同微通道重整器流道和分布方式均会影响甲醇重整反应的传质传热和流体分布性能等,从而导致甲醇重整反应器整体性能不同. ...
Fractal channel design in a micro methanol steam reformer
2
2014
... 随着微加工技术的发展,微反应器得到了更多关注.与管式、板式等传统反应器相比,微反应器具有更高比表面积及更好的传质传热性能,有利于提高制氢性能.研究者开发设计了不同类型的微反应器流道,如图4所示,包含蛇形流道[31]、平行流道[31]、径向流道[32]、微凸台阵列流道[33]、A型流道、分形流道[34]等多种形式.其中微凸台阵列式反应器在甲醇重整制氢创新应用方面潜力巨大.梅德庆等[33]制造了一种新型微凸台阵列微反应器,以提高重整制氢微反应器的紧凑性,如图4(d)所示,相比于传统的微反应器,其具有更高的甲醇转化率.Cheng[34]等发明了一种分形流道,如图4(f)所示,相比于平行流道微通道结构,该结构能改善微通道流速分布的均匀性,重整性能更高.不同微通道重整器流道和分布方式均会影响甲醇重整反应的传质传热和流体分布性能等,从而导致甲醇重整反应器整体性能不同. ...
... [34]等发明了一种分形流道,如图4(f)所示,相比于平行流道微通道结构,该结构能改善微通道流速分布的均匀性,重整性能更高.不同微通道重整器流道和分布方式均会影响甲醇重整反应的传质传热和流体分布性能等,从而导致甲醇重整反应器整体性能不同. ...
Hydrogen production with integrated microchannel fuel processor using methanol for portable fuel cell systems
1
2005
... 微结构反应器是将粉末性催化剂制成的浆料、催化剂前驱体溶液等涂镀于能够提供亚毫米级流动通道材料上制成的微型反应器.常见的微结构反应器包括独石(monolith)型反应器、泡沫型反应器、线型反应器等,其中常见的泡沫型反应器以多种金属材料制成的金属泡沫材料作为载体.文献[35-36]以泡沫镍、泡沫铜和多孔金属纤维材料等作为催化剂载体涂覆催化剂进行甲醇重整制氢反应,其中多孔金属纤维材料具有三维网状结构、孔隙互联、孔隙率高、比表面积大等特点,有极大应用潜力.文献[37]通过研究发现,多孔金属纤维烧结毡具有较高的比表面积和较好的性能,作为催化剂载体可以有效提高甲醇转化率和H2收率.但由于多孔金属纤维烧结毡热稳定性低,研究者一直在通过不同方法努力提高多孔金属纤维烧结毡的稳定性. ...
Efficiency of Zn/TiO2 catalyst operation in a microchannel reactor in methanol steam reforming
1
2009
... 微结构反应器是将粉末性催化剂制成的浆料、催化剂前驱体溶液等涂镀于能够提供亚毫米级流动通道材料上制成的微型反应器.常见的微结构反应器包括独石(monolith)型反应器、泡沫型反应器、线型反应器等,其中常见的泡沫型反应器以多种金属材料制成的金属泡沫材料作为载体.文献[35-36]以泡沫镍、泡沫铜和多孔金属纤维材料等作为催化剂载体涂覆催化剂进行甲醇重整制氢反应,其中多孔金属纤维材料具有三维网状结构、孔隙互联、孔隙率高、比表面积大等特点,有极大应用潜力.文献[37]通过研究发现,多孔金属纤维烧结毡具有较高的比表面积和较好的性能,作为催化剂载体可以有效提高甲醇转化率和H2收率.但由于多孔金属纤维烧结毡热稳定性低,研究者一直在通过不同方法努力提高多孔金属纤维烧结毡的稳定性. ...
Heat and mass transfer characterization of porous copper fiber sintered felt as catalyst support for methanol steam reforming
1
2015
... 微结构反应器是将粉末性催化剂制成的浆料、催化剂前驱体溶液等涂镀于能够提供亚毫米级流动通道材料上制成的微型反应器.常见的微结构反应器包括独石(monolith)型反应器、泡沫型反应器、线型反应器等,其中常见的泡沫型反应器以多种金属材料制成的金属泡沫材料作为载体.文献[35-36]以泡沫镍、泡沫铜和多孔金属纤维材料等作为催化剂载体涂覆催化剂进行甲醇重整制氢反应,其中多孔金属纤维材料具有三维网状结构、孔隙互联、孔隙率高、比表面积大等特点,有极大应用潜力.文献[37]通过研究发现,多孔金属纤维烧结毡具有较高的比表面积和较好的性能,作为催化剂载体可以有效提高甲醇转化率和H2收率.但由于多孔金属纤维烧结毡热稳定性低,研究者一直在通过不同方法努力提高多孔金属纤维烧结毡的稳定性. ...
利用间冷的甲醇重整制氢-发电联产系统
1
2008
... 我国在甲醇重整制氢热电联产发电应用方面处于初步研究阶段,主要集中于理论研究和微型系统的设计开发.中国科学院张莜松等[38]开发了甲醇重整制氢-发电联产系统,该系统将压气机间冷与甲醇重整过程整合,相对节能率达到4.8%,1 MJ H2能耗降低1.05 MJ,远低于常规天然气重整制氢和煤气化制氢的能耗.中国科学院廖腾飞等[39]利用烧结机350 ℃中低温废热与甲醇重整结合研发的重整制氢与发电联产系统,其制氢成本远低于电解水制氢,可与天然气重整制氢相媲美.河北省煤基材料与化学品工程技术研究中心的孙朝等[40]研发的热电联产系统将自组装的标准状态下5 m3/h甲醇水蒸气重整制氢机与5 kW燃料电池串联,通过研究发现该系统可连续发电7 h以上.中国科学院刘启斌等[5,41-42]基于不同用能系统整合和能量综合利用思路,将太阳能甲醇重整制氢与发电有机整合,研发出一种太阳能甲醇重整制氢分布式发电联产系统,通过研究发现该系统具有优良的热力性能. ...
利用间冷的甲醇重整制氢-发电联产系统
1
2008
... 我国在甲醇重整制氢热电联产发电应用方面处于初步研究阶段,主要集中于理论研究和微型系统的设计开发.中国科学院张莜松等[38]开发了甲醇重整制氢-发电联产系统,该系统将压气机间冷与甲醇重整过程整合,相对节能率达到4.8%,1 MJ H2能耗降低1.05 MJ,远低于常规天然气重整制氢和煤气化制氢的能耗.中国科学院廖腾飞等[39]利用烧结机350 ℃中低温废热与甲醇重整结合研发的重整制氢与发电联产系统,其制氢成本远低于电解水制氢,可与天然气重整制氢相媲美.河北省煤基材料与化学品工程技术研究中心的孙朝等[40]研发的热电联产系统将自组装的标准状态下5 m3/h甲醇水蒸气重整制氢机与5 kW燃料电池串联,通过研究发现该系统可连续发电7 h以上.中国科学院刘启斌等[5,41-42]基于不同用能系统整合和能量综合利用思路,将太阳能甲醇重整制氢与发电有机整合,研发出一种太阳能甲醇重整制氢分布式发电联产系统,通过研究发现该系统具有优良的热力性能. ...
中低温废热与甲醇重整结合的氢电联产系统
1
2009
... 我国在甲醇重整制氢热电联产发电应用方面处于初步研究阶段,主要集中于理论研究和微型系统的设计开发.中国科学院张莜松等[38]开发了甲醇重整制氢-发电联产系统,该系统将压气机间冷与甲醇重整过程整合,相对节能率达到4.8%,1 MJ H2能耗降低1.05 MJ,远低于常规天然气重整制氢和煤气化制氢的能耗.中国科学院廖腾飞等[39]利用烧结机350 ℃中低温废热与甲醇重整结合研发的重整制氢与发电联产系统,其制氢成本远低于电解水制氢,可与天然气重整制氢相媲美.河北省煤基材料与化学品工程技术研究中心的孙朝等[40]研发的热电联产系统将自组装的标准状态下5 m3/h甲醇水蒸气重整制氢机与5 kW燃料电池串联,通过研究发现该系统可连续发电7 h以上.中国科学院刘启斌等[5,41-42]基于不同用能系统整合和能量综合利用思路,将太阳能甲醇重整制氢与发电有机整合,研发出一种太阳能甲醇重整制氢分布式发电联产系统,通过研究发现该系统具有优良的热力性能. ...
中低温废热与甲醇重整结合的氢电联产系统
1
2009
... 我国在甲醇重整制氢热电联产发电应用方面处于初步研究阶段,主要集中于理论研究和微型系统的设计开发.中国科学院张莜松等[38]开发了甲醇重整制氢-发电联产系统,该系统将压气机间冷与甲醇重整过程整合,相对节能率达到4.8%,1 MJ H2能耗降低1.05 MJ,远低于常规天然气重整制氢和煤气化制氢的能耗.中国科学院廖腾飞等[39]利用烧结机350 ℃中低温废热与甲醇重整结合研发的重整制氢与发电联产系统,其制氢成本远低于电解水制氢,可与天然气重整制氢相媲美.河北省煤基材料与化学品工程技术研究中心的孙朝等[40]研发的热电联产系统将自组装的标准状态下5 m3/h甲醇水蒸气重整制氢机与5 kW燃料电池串联,通过研究发现该系统可连续发电7 h以上.中国科学院刘启斌等[5,41-42]基于不同用能系统整合和能量综合利用思路,将太阳能甲醇重整制氢与发电有机整合,研发出一种太阳能甲醇重整制氢分布式发电联产系统,通过研究发现该系统具有优良的热力性能. ...
Hydrogen generation from methanol reforming for fuel cell applications:a review
1
2020
... 我国在甲醇重整制氢热电联产发电应用方面处于初步研究阶段,主要集中于理论研究和微型系统的设计开发.中国科学院张莜松等[38]开发了甲醇重整制氢-发电联产系统,该系统将压气机间冷与甲醇重整过程整合,相对节能率达到4.8%,1 MJ H2能耗降低1.05 MJ,远低于常规天然气重整制氢和煤气化制氢的能耗.中国科学院廖腾飞等[39]利用烧结机350 ℃中低温废热与甲醇重整结合研发的重整制氢与发电联产系统,其制氢成本远低于电解水制氢,可与天然气重整制氢相媲美.河北省煤基材料与化学品工程技术研究中心的孙朝等[40]研发的热电联产系统将自组装的标准状态下5 m3/h甲醇水蒸气重整制氢机与5 kW燃料电池串联,通过研究发现该系统可连续发电7 h以上.中国科学院刘启斌等[5,41-42]基于不同用能系统整合和能量综合利用思路,将太阳能甲醇重整制氢与发电有机整合,研发出一种太阳能甲醇重整制氢分布式发电联产系统,通过研究发现该系统具有优良的热力性能. ...
中低温太阳热能的甲醇重整制氢能量转换机理研究
1
2007
... 我国在甲醇重整制氢热电联产发电应用方面处于初步研究阶段,主要集中于理论研究和微型系统的设计开发.中国科学院张莜松等[38]开发了甲醇重整制氢-发电联产系统,该系统将压气机间冷与甲醇重整过程整合,相对节能率达到4.8%,1 MJ H2能耗降低1.05 MJ,远低于常规天然气重整制氢和煤气化制氢的能耗.中国科学院廖腾飞等[39]利用烧结机350 ℃中低温废热与甲醇重整结合研发的重整制氢与发电联产系统,其制氢成本远低于电解水制氢,可与天然气重整制氢相媲美.河北省煤基材料与化学品工程技术研究中心的孙朝等[40]研发的热电联产系统将自组装的标准状态下5 m3/h甲醇水蒸气重整制氢机与5 kW燃料电池串联,通过研究发现该系统可连续发电7 h以上.中国科学院刘启斌等[5,41-42]基于不同用能系统整合和能量综合利用思路,将太阳能甲醇重整制氢与发电有机整合,研发出一种太阳能甲醇重整制氢分布式发电联产系统,通过研究发现该系统具有优良的热力性能. ...
中低温太阳热能的甲醇重整制氢能量转换机理研究
1
2007
... 我国在甲醇重整制氢热电联产发电应用方面处于初步研究阶段,主要集中于理论研究和微型系统的设计开发.中国科学院张莜松等[38]开发了甲醇重整制氢-发电联产系统,该系统将压气机间冷与甲醇重整过程整合,相对节能率达到4.8%,1 MJ H2能耗降低1.05 MJ,远低于常规天然气重整制氢和煤气化制氢的能耗.中国科学院廖腾飞等[39]利用烧结机350 ℃中低温废热与甲醇重整结合研发的重整制氢与发电联产系统,其制氢成本远低于电解水制氢,可与天然气重整制氢相媲美.河北省煤基材料与化学品工程技术研究中心的孙朝等[40]研发的热电联产系统将自组装的标准状态下5 m3/h甲醇水蒸气重整制氢机与5 kW燃料电池串联,通过研究发现该系统可连续发电7 h以上.中国科学院刘启斌等[5,41-42]基于不同用能系统整合和能量综合利用思路,将太阳能甲醇重整制氢与发电有机整合,研发出一种太阳能甲醇重整制氢分布式发电联产系统,通过研究发现该系统具有优良的热力性能. ...
Solar hydrogen production integrating low-grade solar thermal energy and methanol steam reforming
1
2009
... 我国在甲醇重整制氢热电联产发电应用方面处于初步研究阶段,主要集中于理论研究和微型系统的设计开发.中国科学院张莜松等[38]开发了甲醇重整制氢-发电联产系统,该系统将压气机间冷与甲醇重整过程整合,相对节能率达到4.8%,1 MJ H2能耗降低1.05 MJ,远低于常规天然气重整制氢和煤气化制氢的能耗.中国科学院廖腾飞等[39]利用烧结机350 ℃中低温废热与甲醇重整结合研发的重整制氢与发电联产系统,其制氢成本远低于电解水制氢,可与天然气重整制氢相媲美.河北省煤基材料与化学品工程技术研究中心的孙朝等[40]研发的热电联产系统将自组装的标准状态下5 m3/h甲醇水蒸气重整制氢机与5 kW燃料电池串联,通过研究发现该系统可连续发电7 h以上.中国科学院刘启斌等[5,41-42]基于不同用能系统整合和能量综合利用思路,将太阳能甲醇重整制氢与发电有机整合,研发出一种太阳能甲醇重整制氢分布式发电联产系统,通过研究发现该系统具有优良的热力性能. ...
甲醇燃料电池汽车在美完成行车试验
1
... 基于第三次能源革命的大背景下,氢燃料电池汽车被逐步推广并走向商业化,世界各国均开展了深入研究.当前,国内外的氢燃料电池车大多直接以充装高压H2为动力源,以甲醇为氢载体动力源的燃料电池车型相对匮乏.德国、美国、日本等国家均对甲醇重整燃料汽车技术进行了较为深入的研发.德国能源Innogy公司研发了全球首例甲醇燃料电池商用汽车,德国大众汽车公司在中国推出M100甲醇汽车示范车.美国重点开发M85、M100专用甲醇燃料汽车,美国戴姆勒-克莱斯勒公司[43]开发的第五代甲醇重整燃料电池NECARS汽车是燃料电池技术的里程碑,已完成了4 800 km行车试验,功率可达75 kW,最高速度达到150 km/h.美国福特公司建成了M85,研发了甲醇与汽油可任意比例混合的燃料汽车(flexible-fuel vehicle,FFV),已实现大规模商业生产.日本本田、丰田和日产等公司[44]已研发出甲醇驱动的燃料电池汽车,日本三菱电机成功开发供氢5 kW PEMFC的小型甲醇重整反应器.加拿大巴拉德动力系统公司[45]2004年研发的甲醇重整燃料电池组“马克900”,供氢可达到75 kW,用商品氢时可达到80 kW. ...
甲醇燃料电池汽车在美完成行车试验
1
... 基于第三次能源革命的大背景下,氢燃料电池汽车被逐步推广并走向商业化,世界各国均开展了深入研究.当前,国内外的氢燃料电池车大多直接以充装高压H2为动力源,以甲醇为氢载体动力源的燃料电池车型相对匮乏.德国、美国、日本等国家均对甲醇重整燃料汽车技术进行了较为深入的研发.德国能源Innogy公司研发了全球首例甲醇燃料电池商用汽车,德国大众汽车公司在中国推出M100甲醇汽车示范车.美国重点开发M85、M100专用甲醇燃料汽车,美国戴姆勒-克莱斯勒公司[43]开发的第五代甲醇重整燃料电池NECARS汽车是燃料电池技术的里程碑,已完成了4 800 km行车试验,功率可达75 kW,最高速度达到150 km/h.美国福特公司建成了M85,研发了甲醇与汽油可任意比例混合的燃料汽车(flexible-fuel vehicle,FFV),已实现大规模商业生产.日本本田、丰田和日产等公司[44]已研发出甲醇驱动的燃料电池汽车,日本三菱电机成功开发供氢5 kW PEMFC的小型甲醇重整反应器.加拿大巴拉德动力系统公司[45]2004年研发的甲醇重整燃料电池组“马克900”,供氢可达到75 kW,用商品氢时可达到80 kW. ...
甲醇燃料产业的发展现状及应用前景
1
2008
... 基于第三次能源革命的大背景下,氢燃料电池汽车被逐步推广并走向商业化,世界各国均开展了深入研究.当前,国内外的氢燃料电池车大多直接以充装高压H2为动力源,以甲醇为氢载体动力源的燃料电池车型相对匮乏.德国、美国、日本等国家均对甲醇重整燃料汽车技术进行了较为深入的研发.德国能源Innogy公司研发了全球首例甲醇燃料电池商用汽车,德国大众汽车公司在中国推出M100甲醇汽车示范车.美国重点开发M85、M100专用甲醇燃料汽车,美国戴姆勒-克莱斯勒公司[43]开发的第五代甲醇重整燃料电池NECARS汽车是燃料电池技术的里程碑,已完成了4 800 km行车试验,功率可达75 kW,最高速度达到150 km/h.美国福特公司建成了M85,研发了甲醇与汽油可任意比例混合的燃料汽车(flexible-fuel vehicle,FFV),已实现大规模商业生产.日本本田、丰田和日产等公司[44]已研发出甲醇驱动的燃料电池汽车,日本三菱电机成功开发供氢5 kW PEMFC的小型甲醇重整反应器.加拿大巴拉德动力系统公司[45]2004年研发的甲醇重整燃料电池组“马克900”,供氢可达到75 kW,用商品氢时可达到80 kW. ...
甲醇燃料产业的发展现状及应用前景
1
2008
... 基于第三次能源革命的大背景下,氢燃料电池汽车被逐步推广并走向商业化,世界各国均开展了深入研究.当前,国内外的氢燃料电池车大多直接以充装高压H2为动力源,以甲醇为氢载体动力源的燃料电池车型相对匮乏.德国、美国、日本等国家均对甲醇重整燃料汽车技术进行了较为深入的研发.德国能源Innogy公司研发了全球首例甲醇燃料电池商用汽车,德国大众汽车公司在中国推出M100甲醇汽车示范车.美国重点开发M85、M100专用甲醇燃料汽车,美国戴姆勒-克莱斯勒公司[43]开发的第五代甲醇重整燃料电池NECARS汽车是燃料电池技术的里程碑,已完成了4 800 km行车试验,功率可达75 kW,最高速度达到150 km/h.美国福特公司建成了M85,研发了甲醇与汽油可任意比例混合的燃料汽车(flexible-fuel vehicle,FFV),已实现大规模商业生产.日本本田、丰田和日产等公司[44]已研发出甲醇驱动的燃料电池汽车,日本三菱电机成功开发供氢5 kW PEMFC的小型甲醇重整反应器.加拿大巴拉德动力系统公司[45]2004年研发的甲醇重整燃料电池组“马克900”,供氢可达到75 kW,用商品氢时可达到80 kW. ...
国际燃料电池汽车的开发现状简介
1
2003
... 基于第三次能源革命的大背景下,氢燃料电池汽车被逐步推广并走向商业化,世界各国均开展了深入研究.当前,国内外的氢燃料电池车大多直接以充装高压H2为动力源,以甲醇为氢载体动力源的燃料电池车型相对匮乏.德国、美国、日本等国家均对甲醇重整燃料汽车技术进行了较为深入的研发.德国能源Innogy公司研发了全球首例甲醇燃料电池商用汽车,德国大众汽车公司在中国推出M100甲醇汽车示范车.美国重点开发M85、M100专用甲醇燃料汽车,美国戴姆勒-克莱斯勒公司[43]开发的第五代甲醇重整燃料电池NECARS汽车是燃料电池技术的里程碑,已完成了4 800 km行车试验,功率可达75 kW,最高速度达到150 km/h.美国福特公司建成了M85,研发了甲醇与汽油可任意比例混合的燃料汽车(flexible-fuel vehicle,FFV),已实现大规模商业生产.日本本田、丰田和日产等公司[44]已研发出甲醇驱动的燃料电池汽车,日本三菱电机成功开发供氢5 kW PEMFC的小型甲醇重整反应器.加拿大巴拉德动力系统公司[45]2004年研发的甲醇重整燃料电池组“马克900”,供氢可达到75 kW,用商品氢时可达到80 kW. ...
国际燃料电池汽车的开发现状简介
1
2003
... 基于第三次能源革命的大背景下,氢燃料电池汽车被逐步推广并走向商业化,世界各国均开展了深入研究.当前,国内外的氢燃料电池车大多直接以充装高压H2为动力源,以甲醇为氢载体动力源的燃料电池车型相对匮乏.德国、美国、日本等国家均对甲醇重整燃料汽车技术进行了较为深入的研发.德国能源Innogy公司研发了全球首例甲醇燃料电池商用汽车,德国大众汽车公司在中国推出M100甲醇汽车示范车.美国重点开发M85、M100专用甲醇燃料汽车,美国戴姆勒-克莱斯勒公司[43]开发的第五代甲醇重整燃料电池NECARS汽车是燃料电池技术的里程碑,已完成了4 800 km行车试验,功率可达75 kW,最高速度达到150 km/h.美国福特公司建成了M85,研发了甲醇与汽油可任意比例混合的燃料汽车(flexible-fuel vehicle,FFV),已实现大规模商业生产.日本本田、丰田和日产等公司[44]已研发出甲醇驱动的燃料电池汽车,日本三菱电机成功开发供氢5 kW PEMFC的小型甲醇重整反应器.加拿大巴拉德动力系统公司[45]2004年研发的甲醇重整燃料电池组“马克900”,供氢可达到75 kW,用商品氢时可达到80 kW. ...
创新引领氢能时代:专访广东合即得能源科技有限公司董事长向华博士
1
2016
... 国内各科研机构及企业也开展了有关甲醇燃料电池发电的研究.广东合即得能源科技有限公司(以下简称“合即得”)研发的“水氢机”技术,即利用甲醇和水重整制氢供PEMFC发电、发热[46],具备安全、体积小、重量轻、成本低、效率高,以及可随时随地制氢、发电等优点.目前,水氢机已应用于警务巡逻车和旅游观光车等.2016年,合即得水氢汽车装车成功,真正实现热电联产和可持续发展.合即得[47]采用单片机对甲醇重整制氢模块和燃料电池发电模块进行改进,极大地提高了水氢燃料电池的功率密度和输出功率稳定性,水氢燃料电池每3 kg甲醇可以重整产生5 000 L纯氢,能量转化效率达42%以上. ...
创新引领氢能时代:专访广东合即得能源科技有限公司董事长向华博士
1
2016
... 国内各科研机构及企业也开展了有关甲醇燃料电池发电的研究.广东合即得能源科技有限公司(以下简称“合即得”)研发的“水氢机”技术,即利用甲醇和水重整制氢供PEMFC发电、发热[46],具备安全、体积小、重量轻、成本低、效率高,以及可随时随地制氢、发电等优点.目前,水氢机已应用于警务巡逻车和旅游观光车等.2016年,合即得水氢汽车装车成功,真正实现热电联产和可持续发展.合即得[47]采用单片机对甲醇重整制氢模块和燃料电池发电模块进行改进,极大地提高了水氢燃料电池的功率密度和输出功率稳定性,水氢燃料电池每3 kg甲醇可以重整产生5 000 L纯氢,能量转化效率达42%以上. ...
水氢燃料电池控制策略
1
2018
... 国内各科研机构及企业也开展了有关甲醇燃料电池发电的研究.广东合即得能源科技有限公司(以下简称“合即得”)研发的“水氢机”技术,即利用甲醇和水重整制氢供PEMFC发电、发热[46],具备安全、体积小、重量轻、成本低、效率高,以及可随时随地制氢、发电等优点.目前,水氢机已应用于警务巡逻车和旅游观光车等.2016年,合即得水氢汽车装车成功,真正实现热电联产和可持续发展.合即得[47]采用单片机对甲醇重整制氢模块和燃料电池发电模块进行改进,极大地提高了水氢燃料电池的功率密度和输出功率稳定性,水氢燃料电池每3 kg甲醇可以重整产生5 000 L纯氢,能量转化效率达42%以上. ...
水氢燃料电池控制策略
1
2018
... 国内各科研机构及企业也开展了有关甲醇燃料电池发电的研究.广东合即得能源科技有限公司(以下简称“合即得”)研发的“水氢机”技术,即利用甲醇和水重整制氢供PEMFC发电、发热[46],具备安全、体积小、重量轻、成本低、效率高,以及可随时随地制氢、发电等优点.目前,水氢机已应用于警务巡逻车和旅游观光车等.2016年,合即得水氢汽车装车成功,真正实现热电联产和可持续发展.合即得[47]采用单片机对甲醇重整制氢模块和燃料电池发电模块进行改进,极大地提高了水氢燃料电池的功率密度和输出功率稳定性,水氢燃料电池每3 kg甲醇可以重整产生5 000 L纯氢,能量转化效率达42%以上. ...
车载甲醇重整制氢系统研发取得重要突破
1
... 在商用车领域,由东风汽车公司开发的全球首批基于甲醇重整氢燃料电池轻型卡车于2018年正式投入商业运营.2018年,中德制得首款甲醇重整燃料跑车.2020年8月,我国广东能创科技有限公司成功研制车载甲醇重整制氢系统并用于重卡汽车发电,其产氢量达650~1 200 L/min,产氢机的用氢成本仅为使用纯氢的1/3[48].中国科学院大连化学物理研究所研发了75 kW甲醇重整氢源燃料电池系统,可长时间稳定发电[49],运行过程系统最大输出功率达75.5 kW. ...
车载甲醇重整制氢系统研发取得重要突破
1
... 在商用车领域,由东风汽车公司开发的全球首批基于甲醇重整氢燃料电池轻型卡车于2018年正式投入商业运营.2018年,中德制得首款甲醇重整燃料跑车.2020年8月,我国广东能创科技有限公司成功研制车载甲醇重整制氢系统并用于重卡汽车发电,其产氢量达650~1 200 L/min,产氢机的用氢成本仅为使用纯氢的1/3[48].中国科学院大连化学物理研究所研发了75 kW甲醇重整氢源燃料电池系统,可长时间稳定发电[49],运行过程系统最大输出功率达75.5 kW. ...
甲醇重整制氢在燃料电池中的应用
1
2008
... 在商用车领域,由东风汽车公司开发的全球首批基于甲醇重整氢燃料电池轻型卡车于2018年正式投入商业运营.2018年,中德制得首款甲醇重整燃料跑车.2020年8月,我国广东能创科技有限公司成功研制车载甲醇重整制氢系统并用于重卡汽车发电,其产氢量达650~1 200 L/min,产氢机的用氢成本仅为使用纯氢的1/3[48].中国科学院大连化学物理研究所研发了75 kW甲醇重整氢源燃料电池系统,可长时间稳定发电[49],运行过程系统最大输出功率达75.5 kW. ...
甲醇重整制氢在燃料电池中的应用
1
2008
... 在商用车领域,由东风汽车公司开发的全球首批基于甲醇重整氢燃料电池轻型卡车于2018年正式投入商业运营.2018年,中德制得首款甲醇重整燃料跑车.2020年8月,我国广东能创科技有限公司成功研制车载甲醇重整制氢系统并用于重卡汽车发电,其产氢量达650~1 200 L/min,产氢机的用氢成本仅为使用纯氢的1/3[48].中国科学院大连化学物理研究所研发了75 kW甲醇重整氢源燃料电池系统,可长时间稳定发电[49],运行过程系统最大输出功率达75.5 kW. ...