氢燃料电池钛双极板液压成形机理研究
张杰, 王瑞川

Study on Hydroforming Mechanism of Titanium Bipolar Plates for Hydrogen Fuel Cells
Jie ZHANG, Ruichuan WANG
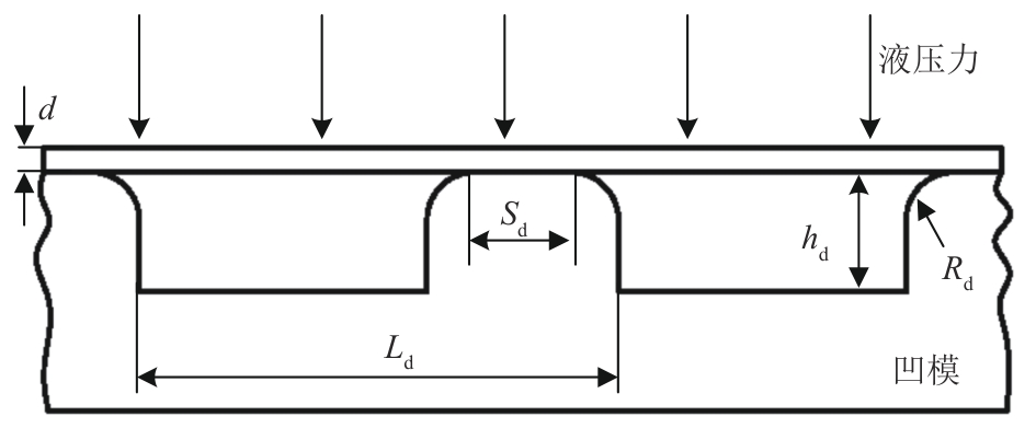
图1 双极板液压成形结构
Fig. 1 Hydroforming structure of bipolar plate